Генератор CARGO 113656
Дана запчастина не підходить для вибраного автомобіля
потрібна перевірка за VIN-кодом, уточнюйте сумісність у наших фахівців
потрібна перевірка за VIN-кодом, уточнюйте сумісність у наших фахівців
|
5 934 ₴
відправимо завтра
|
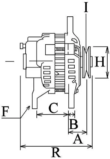
- Виробник
-
CARGO
(Данія)
- Каталоговий номер
- 113656
- Напруга [В]
- 14
- Струм зарядки від генератора (А)
- 90
- Ремінний шків
- з багатострумковим шківом
- Модель генератора
- викл. вакуумний насос
- Діаметр [мм]
- 59.9
- Кількість канавок
- 4
- Ідентифікаційний номер виконання штекерного роз'єму
- PL07
Застосовність
- Товар підходить до марок/моделей авто:
- - KIA: Rio
- Товарна група:
- - Електрика та Освітлення Генератор
Аналоги "113656 CARGO":
Оригінальні номери
OEM:
0K30D18300
OK30D18300
0K30C18300
OK30C18300
Каталог запчастин для автомобілів до яких застосовується ця деталь
